
封面新闻记者 边雪专业股票配资知识论坛
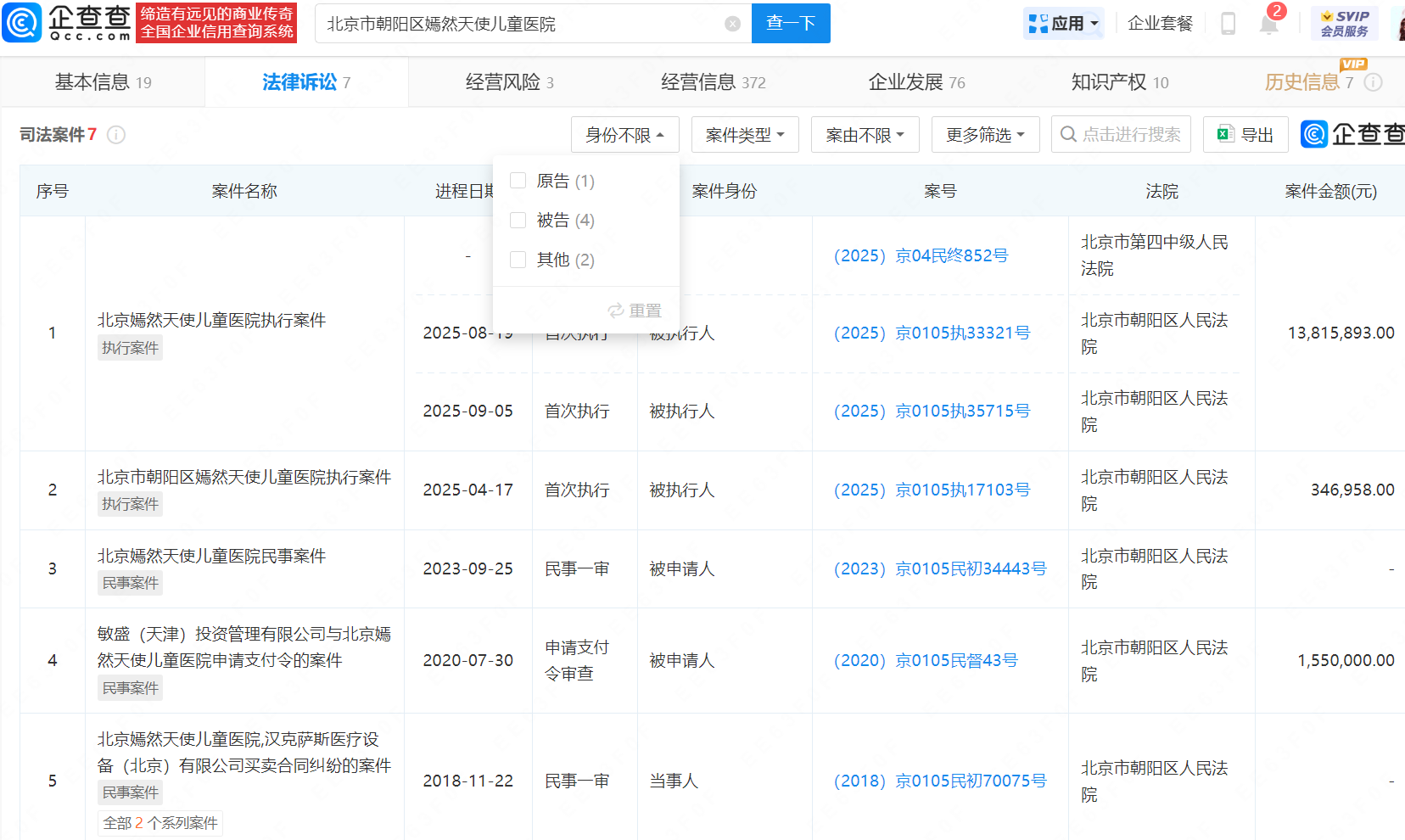
近日,北京市朝阳区嫣然天使儿童医院新增一则被执行人信息,执行标的1381万余元,执行法院为北京市朝阳区人民法院。

北京市朝阳区嫣然天使儿童医院由李亚鹏、王菲等八位创始人,于2012年共同发起成立,曾以帮助唇腭裂儿童为核心使命。李亚鹏曾在采访中强调,“我们做医院,不是为了赚钱,是为了让更多孩子有机会像嫣儿一样,拥有正常的生活”。
一纸执行公告,再次将李亚鹏与嫣然天使儿童医院推入舆论漩涡,这家承载着公益理想的医院正面临着法律与运营的双重考验。值得注意的是,该医院2014年,就曾因“千万善款去向不明”陷入舆论危机。
善心驱使 嫣然天使儿童医院的成立
嫣然天使儿童医院的成立与李亚鹏的家庭经历密切相关。2006年,王菲在产检时查出胎儿有唇腭裂情况,依然坚持把孩子生下来。李嫣出生的第三个月就开始接受大大小小的手术。
为了帮助和女儿一样患有先天性唇腭裂的孩子,李亚鹏与王菲共同成立了嫣然天使基金会。2012年6月,北京市朝阳区嫣然天使儿童医院正式成立,法定代表人为李亚鹏,开办资金1000万人民币。
业务类型包括儿科、小儿消化专业、小儿呼吸专业等。官网显示,该医院由李亚鹏、王菲等八位创始人共同倡导发起成立。
天眼查风险信息显示,当前该医院名下涉多起司法案件,多为被告身份。此次新增执行标的金额1381.58万元远超前两次。2024年,该院因未履行对敏盛(天津)投资管理有限公司的155万元导入建置费用支付义务,被法院发支付令。
这不是嫣然天使儿童医院第一次成为被执行人:2023年曾被执行100万元,2024年4月再遭执行34.7万元。
2025年8月19日,北京市朝阳区嫣然天使儿童医院新增一则被执行人信息,执行标的高达1381.58万元。这已经是该医院近年来第三次被公开记录的执行案件,此前在2023年曾被强制执行100万元,2024年4月再遭执行34.7万元。
尽管面临法律纠纷,嫣然天使基金仍持续推进公益活动。8月13日,李亚鹏发布视频记录女儿李嫣参与基金会夏令营的画面,19岁的李嫣术后状态良好,与现场嘉宾互动大方。
李亚鹏困境:商业溃败,债务缠身
据封面新闻此前报道,李亚鹏名下的商业困境并非仅限于嫣然医院,他持股27.83%的丽江雪山投资公司问题尤为突出。
该公司因房地产项目烂尾,累计被执行4.6亿元,并多次被限制高消费。2024年,李亚鹏因欠薪纠纷、直播痛哭还债等事件引发公众对其财务状况的关注。对此,该项目工作人员告诉封面新闻记者,相关债务公司在积极处理。“这属于公司内部财务问题,不便对外透露。”
李亚鹏的商业版图崩塌早有预兆。2023年,他因丽江雪山艺术小镇项目被法院列为失信被执行人,需偿还4000万元债务。2024年直播带货首场即因“3999元标价乌龙”翻车。2025年5月、7月,其持股公司接连被强制执行244万、102万元。李亚鹏本人也曾在直播中坦言:“我最大的错误,是情怀远大于能力。”
被执行上千万元 李亚鹏需承担责任吗?
作为“明星跨界商业”的样本,李亚鹏是深谙流量规则:用女儿李嫣的唇腭裂经历打造公益IP,与王菲共同成立了嫣然天使基金会,来帮助和女儿一样患有先天性唇腭裂的孩子。同时,王菲还为李嫣亲自作词作曲创作了歌曲《爱笑的天使》,作为嫣然天使基金的主题曲。
借嫣然基金晚宴筹款数亿。
在李亚鹏转战直播后,他曾强调“为还债吃一个月外卖”来吸引直播间的观众。但这些操作始终未触及商业本质:缺乏核心竞争力、忽视市场规律、滥用信任资本。
非营利机构若与商业行为深度捆绑,极易引发合规风险。北京市中盾律师事务所律师杨文战律师表示,医院应该具有独立法人资格,李亚鹏即使是法定代表人或股东,只要出资到位没有转移资产的等行为,债务正常也是由医院承担,不涉及个人责任,除非个人又额外做了担保。
慈善需要的不仅是资金和爱心,更需要良好的管理与透明的运营机制。
在帮助他人的同时专业股票配资知识论坛,慈善机构本身也需要不断完善自身的制度,以应对日益复杂的社会环境。这样的反思与实践,将有助于整个社会在未来的慈善事业中走得更加稳健与长远。
启富网提示:文章来自网络,不代表本站观点。